美安科技与科创空间深度合作,为研发创新提供强力支撑
AI成为一个时代的代名词,智能安防与时俱进,在全球范围内也呈现出强劲的增长势头,已经是智慧城市与平安社区建设的核心组成部分。
深圳市美安科技有限公司(简称“美安科技”)作为国内领先的安防器材供应商与智慧平台服务商,集研发、生产和销售为一体,自主研发了数字变频、DMT动态时间分割、DMF动态能量积累等多项领先行业的首创技术。目前公司申请知识产权累计100多项,其中含授权发明专利有3项、实用新型专利19项、软件著作权12项。主导产品视频报警控制器及前端传感器在联网报警细分领域市场占有率达到26%以上。公司被认定为国家级高新技术企业、深圳专精特新中小企业,成为中国电信、中国联通、科大讯飞、商汤科技、漳州立达信、雷士国际、九联科技等行业龙头企业的稳定供应商。美安科技积极开拓国际市场,合作伙伴包括ASSA ABLOY、ERA Home Security、EKF Group、Positivo Tecnologia S.A.Proxe srl、Guard Engineering srl等国际型上市企业。

美安科技
以技术创新为引擎,视频报警控制器市占率超26%
美安科技成立于2003年,专注于智慧安防报警和AI智能物联网产品行业整体解决方案,主营产品涵盖防盗报警、视频报警、视频监控、智能家居、门禁对讲、AI生物识别、智慧消防、云数据综合管理平台等八大产品类型,产品种类多达300种。公司旗下拥有“FOCUS福科斯”和“MEIAN”两大知名品牌,分别专注于专业安防报警品和AI智能物联网等领域,率先推出的双向FSK无线加密通信技术,一次性通过英国BSI Kitemark™ 认证,成为首家通过该认证的中国安防报警企业。“FOCUS福科斯”品牌被《品牌网》评为2024年度防盗报警十大品牌(如下图所示)。美安科技推行品牌市场细分战略,通过重点开拓培养智慧安防报警市场和提供ODM方式来满足不同客户的需求,和代理/经销商和合作伙伴实现共赢。

“FOCUS福科斯”入榜2024年度防盗报警十大品牌
为了持续推动技术提升和新产品的开发,美安科技每年将营业额的10%投入到研发领域,组建了一支汇聚60多位资深安防行业研究人员的研发团队,并为其配备了专业的2000+平方米的研发中心,拥有研发综合实验室、环境实验室、电磁实验室、电器性能实验室等基础设施,为公司可持续发展奠定了坚实的基础。

美安科技生产制造中心
同时,公司还引进、采购了多套先进制造设备,包括富士高速贴片机、松下多功能贴片机、AOI自动红外检测仪、自动选择性波峰焊机、20条装配线以及8间电磁屏蔽房等,完善了自动化贴片产线、装配产线、注塑车间和工模车间的设施,为产品生产提供强有力的支持。

美安科技生产制造中心部分实况图
基于在技术研发、设施设备上的大力投入,美安科技自主研发了多项领先行业的首创技术。全球首创的数字变频技术和智能雨雾识别,可彻底解决红外对射栅栏在复杂环境安装时相互干扰的行业难题,杜绝了红外对射栅栏的致命漏洞;全球首创的视频+报警复合技术,则能够减少90%的出警率,极大地提高报警准确性;而开创性且集成PSTN+4G+TCP/IP的三网通信,还能确保报警信息100%地准确接收,确保使命必达,杜绝危险。

公司报警控制器系列产品
此外,美安科技还将AI视频智能分析融入安防探测器和消防探测器技术当中,犹如给探测器加了一双聪明眼睛和一个智慧的大脑,让探测不仅仅是感受到,更能看得到,实现报警视频复核,最大程度地降低了执勤人员的工作负担。而且研发的DMT动态时间分割和DMF能量堆积技术,还可极大改善入侵探测器的误报漏报问题。
美安科技成为中国电信、中国联通、科大讯飞、商汤科技、漳州立达信、雷士国际、九联科技等行业龙头企业的稳定供应商,并积极开拓国外市场,现已拓展前六的国际合作伙伴有ASSA ABLOY、ERA Home Security、EKF Group、Positivo Tecnologia S.A.Proxe srl、Guard Engineering srl。

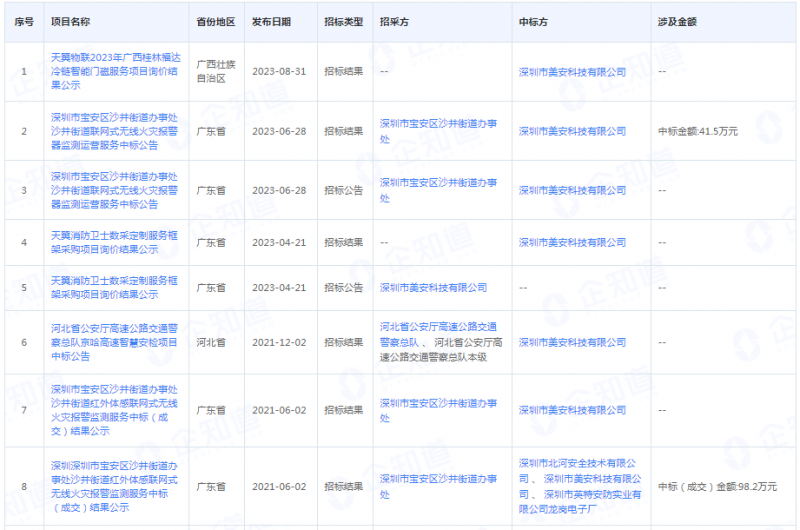
近年来公司部分招投标公开信息
美安科技在智慧联网报警细分领域,以主导产品视频报警控制器结合智能网关+视频录像+报警复核等技术自主研发组件和产品,成为以视频为核心的智能物联网解决方案和大数据服务提供商,在2021—2026年,全球安防年将会经历先下降后上升的趋势,结合对未来行业形势发展的判断,前瞻预计到全球安防行业将会在2024年迎来拐点,智能安防将会迎来一个大的发展,伴随着新兴市场的经济崛起,安防市场将会在2024年后开始恢复增长。同时,美安科技在国内市场主要应用场景为大型社区商城监控方案、企事业单位安防工程解决方案和为国内行业龙头解决方案配套,如天翼物联、天翼消防卫士等。据公开信息,2022年、2023年该细分领域市场份额2亿左右。根据中国招标网相关数据统计,2022年、2023年公司在联网报警应用场景应用细分领域的累计中标金额分别达0.68亿元及0.52亿元,分别占当年联网报警应用场景应用细分领域中标总金额的34%及26%。公司国内联网报警应用场景应用细分领域占评价市场占有率为30%。
美安科技通过ISO9001质量管理体系认证、ISO14001环境管理体系认证、ISO45001职业健康安全管理体系认证等,同时,公司还参与了《微波和被动红外复合入侵探测器》《遮挡式微波入侵探测器技术要求》《振动入侵探测器》等多项国家、行业标准的起草与制定工作,其中《微波和被动红外复合入侵探测器》《遮挡式微波入侵探测器技术要求》被列为国家强制级标准颁布、实施,成为安防报警行业优秀国家标准的制定者之一。


美安科技部分资质荣誉
凭借深厚的技术积累和敏锐的市场洞察力,美安科技的防盗报警品牌连续十年获得中国安防十大品牌、中国安防最具影响力的十大品牌、AIoT创新出海TOP20品牌、AIoT创新十大品牌等荣誉称号,多款产品还被列为平安城市建设推荐优秀安防产品,广泛应用于智能家居、智慧城市、企事业单位等社会领域,视频报警控制器在联网报警领域的市场占有率更是达到26%以上。
科创空间支撑,美安科技研发创新变轨提速
随着5G、AI、物联网等新兴技术的深度融合,安防行业正逐步实现从传统的人防、物防向技防、智防的跨越发展。此次携手企知道科创空间,美安科技将继续加大研发投入,紧跟市场需求,加速安防报警新产品研发。科创空间具备全链路研发创新统筹管理能力,它的研发项目管理和创新点挖掘等功能,可帮助美安科技及时洞察市场需求,并通过人工智能、AI大模型等技术分析企业现状,科学规划技术研发流程,实现新产品、新技术的研发创新效率得到提升,进一步构筑竞争优势。
未来,有了企知道科创空间的赋能,美安科技将汇聚创新资源,实现更多的技术突破,在进一步提供市场竞争力的同时,也为行业高质量发展贡献应有之力,逐步成长为安防领域的领军企业!






